709193 (Sostituisce: 1I15935345)
€ 872,50
IVA inclusa
Cerca un rivenditore

 

VERANDA DA PARETE FIAMMA F45S

Il tendalino innovativo e compatto dal design italiano.

Facile da usare e semplice da installare, la F45s è il tendalino che unisce la tecnologia del futuro con la migliore qualità e i servizi di oggi. Design compatto e funzionale, continuamente innovato, di qualità superiore, resistente e solido. Sicuro e pratico da utilizzare, l'asola a vista facilita l'aggancio dell'arganello per l'apertura del tendalino.

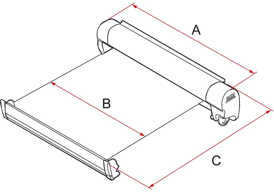
SPECIFICHE TECNICHE:

  • Posizione di montaggio: parete laterale
  • Sistema di azionamento: manuale
  • Colore cassonetto: Polar White
  • Fantasia telo: Royal Grey
  • Lunghezza tendalino A: 2,63 metri
  • Lunghezza telo B: 2,47 metri
  • Estensione C: 2,0 metri
  • Superficie d'ombra: 4,9 m2
  • Peso: 19,5 kg
  • Articolo Fiamma: 06280H01R

VANTAGGI E CARATTERISTICHE

  • Vasta Scelta: tre finiture di cassonetto e due colori telo tra cui scegliere, misure da 190 a 450 cm
  • Accessori: una vasta gamma di accessori disponibili per aumentare ulteriormente il comfort
  • Staffe di Installazione: dotazione standard di serie e più di 90 staffe personalizzate per permettere il montaggio su profili particolari
  • LED: tanti modelli e soluzioni LED per illuminare le serate sotto il tendalino
  • Double Guide: doppia canalina sul frontale che permette l'installazione di due pannelli frontali
  • Perfect Closing: apertura e chiusura silenziosa e veloce grazie al meccanismo di sicurezza Auto-Lock e chiusura sempre perfetta grazie ai segnalatori visivi Dual Security
  • Presto Fix: sistema che regola la chiusura del frontale per garantire una chiusura sempre perfetta nel tempo
  • One Way Roll: avvolgimento del telo esclusivamente nel senso corretto, garantito dal sistema brevettato Fiamma
  • Dual Shock Absorber: staffa ammortizzante con doppio bullone brevettato per proteggere tendalino e veicolo in caso di maltempo
  • Extra Strong Arms: braccia rinforzate e snodate a doppio cavo d'acciaio che permette di mantenere una tensione del telo ottimale
  • Secure Lock: le paline possono essere fissate al suolo o a parete e permettono di regolare l'altezza del frontale con un sistema telescopico sicuro e pratico

GUIDA ALLA SCELTA

  • Veicolo: perfetto per ogni veicolo, dai grandi camper ai minivan
  • Apertura: azionamento ad arganello. Apertura e chiusura con manovella. Motore elettrico disponibile come optional
  • Posizione: installazione a parete. Kit staffe di installazione incluse, staffe particolari disponibili come optional
  • Veranda: disponibili come optional le chiusure Privacy Ultra-Light, Privacy Room, Privacy Room Light, Blocker e Side
  • Colori & materiali: cassonetto Polar White, Titanium o Deep Black. Telo multistrato in vinile, impermeabile e resistente ai raggi UV, imputrescibile e lavabile, disponibile nelle fantasie R=Royal Grey e Q=Royal Blue con colori brillanti su entrambi i lati.

ISTRUZIONI D'INSTALLAZIONE F45S

GUARDA IL VIDEO DI PRESENTAZIONE

MODELLI DISPONIBILI FIAMMA F45S

CASSONETTO POLAR WHITE

Recentemente disponibile presso

Acconsenti ai cookie per visualizzare la mappa.
Clicca qui.
  • CAMPING SPORT MAGENTA S.R.L.
    CORSO MAGENTA, 56
    20123 MILANO (MI) - ITALIA
    +393703189656
  • EDY CAMPER S.R.L
    VIA CONEGLIANO 96 IN 12
    31058 SUSEGANA (TV) - ITALIA
    +39 0438 60346
  • CENTRO CARAVAN COSTANTINI
    VIA PONTINA 399
    00128 ROMA (RM) - ITALIA
    06/5072917
  • CARAVANBACCI
    VIA G. GALILEI 2, LOCALITA LAVORIA
    56040 CRESPINA (PI) - ITALIA
    +39 050 700313
  • ZACCARI CARAVAN
    VIA PONTINA 339
    00128 ROMA (RM) - ITALIA
    +39 06 5087933
  • OFFICINA DEL CARAVAN
    S.DEFENDENTE VOLPONE 91
    12043 CANALE (CN) - ITALIA
    3486432562
  • ARCOBALENO CARAVAN DI AGOSTINELLI AL
    VIA GIROMBELLI 6
    60131 ANCONA (AN) - ITALIA
    0712916455
  • LUSSO CARAVAN
    VIA VALLE GRANA 18
    12010 SAN ROCCO BERNEZZO (CN) - ITALIA
    +39 0171 687043
  • DOTT.CAMPER SRL
    LOC. SU CODDU VIA TOGLIATTI SN
    09047 SELARGIUS (CA) - ITALIA
    329/1180188
  • BELTRANI CAMPER&CARAVAN
    VIA CÀ BIANCA 361/F
    40024 CASTEL S. PIETRO TE. (BO) - ITALIA
    051 1998 7094
  • G SERVICE DI GRIOLI PAOLO
    STRADA STATALE 114KM 7 SNC
    98100 FRA. MILI MARINA (ME) - ITALIA
  • CAMPERSUN ACCESSORI CAMPER
    VIA QUARTO NEGRONI, 25
    00040 ARICCIA (RM) - ITALIA
    +39 06 9390845
  • ACCESSORI CAMPER SHOP
    VIA MONTECATINI, 294/1
    41126 MODENA (MO) - ITALIA
    +39 059 468765
  • CARAVAN CENTER
    VIA AMERICO VESPUCCI, 2
    33080 FIUME VENETO (PN) - ITALIA
    +390434957595
  • TRAVEL CAMPER SNC
    VIA MOLETTE 19
    36015 SCHIO (VI) - ITALIA
    0445-517641
  • IL CERCHIO SNC DI PALOMBA MICHELE &
    VIA DI UGNANO S.N.
    50142 FIRENZE (FI) - ITALIA
    055.754339
  • BERTOGLIO CAMPER
    VIA SAN GIACOMO 260
    39055 LAIVES (BZ) - ITALIA
    +39 (0471)502811
  • CAMPER CANTARELLA DI CANTARELLA ANTO
    VIA PROV. PER S. MARIA AMMALATI, 177
    95024 ACIREALE (CT) - ITALIA
    000000
  • GIACHI SRL CARROZZERIA-OFFICINA
    VIA GIOTTO N.1 Z.I.
    50021 BARBERINO V. D'ELSA (FI) - ITALIA
    +39 055 8078491
  • ESSEGI SARTORELLI S.R.L.
    VIA CASAGLIA 113
    25039 TRAVAGLIATO (BS) - ITALIA
    0306863780
  • LC CAMPER
    VIA STURA 70
    10073 FRAZ.DEVESI CIRIE' (TO) - ITALIA
    3486827676
  • NEW FLORENCE CAMPER
    VIA GUIDO ROSSA N. 72
    59015 COMEANA (PO) - ITALIA
    +39 055 8732163
  • FUSTINONI SPORT
    VIA TRENTO 4
    24035 CURNO (BG) - ITALIA
    035-611262

Spesso acquistato insieme