930557
€ 186,00
IVA inclusa
Cerca un rivenditore

 

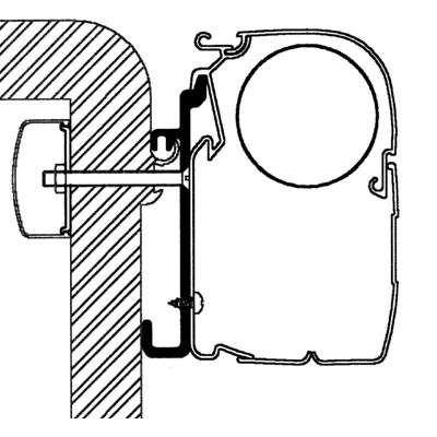
PIASTRE DI MONTAGGIO VERANDE THULE - RAPIDO SERIE 7 e 8

Utilizzo: Thule 4200/5200/8000
Rapido serie 7.
• 2 staffe da 18 cm+1 da 1 metro
• Codice Thule: 307923

Set da 3 pezzi.

 

Spesso acquistato insieme

Connettore Antenna Femmina

923469
Caricamento prezzo in corso...