709198 (A0000281) (Sostituisce: 1I709198)
€ 924,50
IVA inclusa
Cerca un rivenditore

 

VERANDA DA PARETE FIAMMA F45S

Il tendalino innovativo e compatto dal design italiano.

Facile da usare e semplice da installare, la F45s è il tendalino che unisce la tecnologia del futuro con la migliore qualità e i servizi di oggi. Design compatto e funzionale, continuamente innovato, di qualità superiore, resistente e solido. Sicuro e pratico da utilizzare, l'asola a vista facilita l'aggancio dell'arganello per l'apertura del tendalino.

SPECIFICHE TECNICHE:

  • Posizione di montaggio: parete laterale
  • Sistema di azionamento: manuale
  • Colore cassonetto: Titanium
  • Fantasia telo: Royal Grey
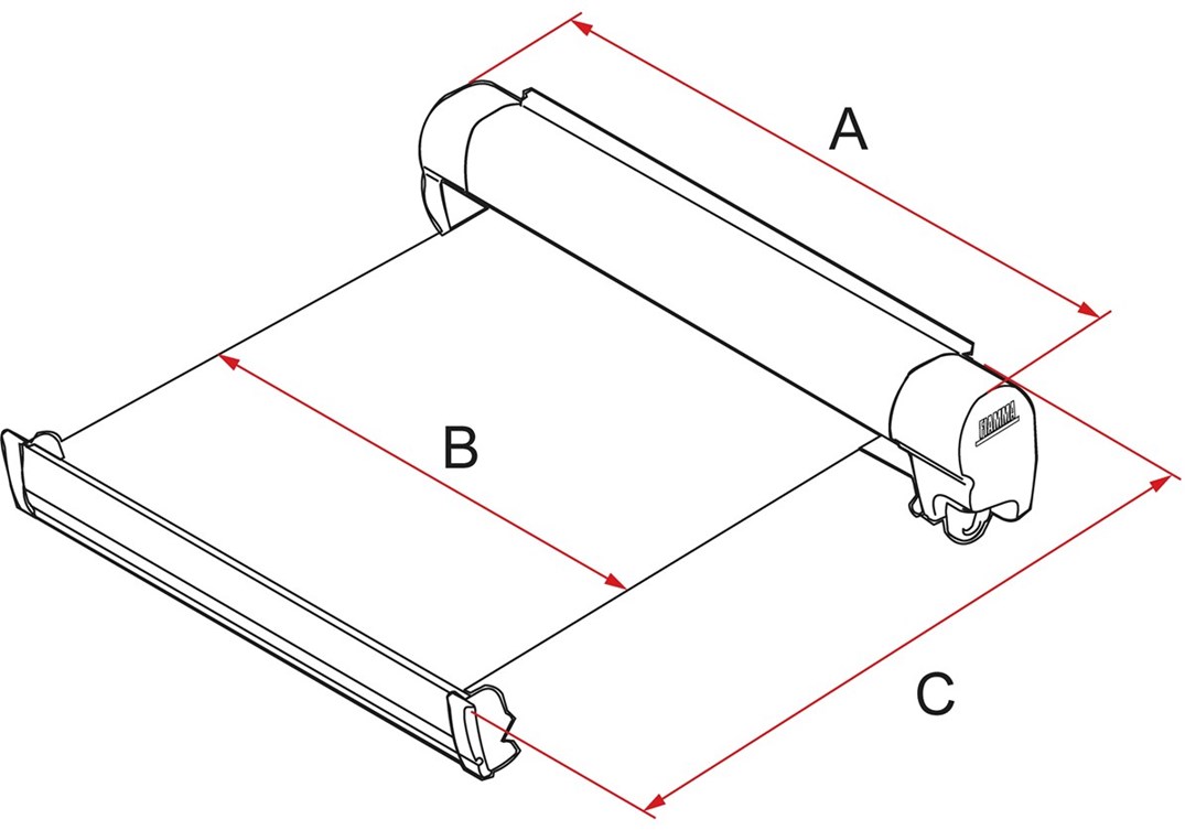
  • Lunghezza tendalino A: 2,63 metri
  • Lunghezza telo B: 2,47 metri
  • Estensione C: 2,0 metri
  • Superficie d'ombra: 4,9 m2
  • Peso: 19,5 kg
  • Articolo Fiamma: 06290H01R

VANTAGGI E CARATTERISTICHE

  • Vasta Scelta: tre finiture di cassonetto e due colori telo tra cui scegliere, misure da 190 a 450 cm
  • Accessori: una vasta gamma di accessori disponibili per aumentare ulteriormente il comfort
  • Staffe di Installazione: dotazione standard di serie e più di 90 staffe personalizzate per permettere il montaggio su profili particolari
  • LED: tanti modelli e soluzioni LED per illuminare le serate sotto il tendalino
  • Double Guide: doppia canalina sul frontale che permette l'installazione di due pannelli frontali
  • Perfect Closing: apertura e chiusura silenziosa e veloce grazie al meccanismo di sicurezza Auto-Lock e chiusura sempre perfetta grazie ai segnalatori visivi Dual Security
  • Presto Fix: sistema che regola la chiusura del frontale per garantire una chiusura sempre perfetta nel tempo
  • One Way Roll: avvolgimento del telo esclusivamente nel senso corretto, garantito dal sistema brevettato Fiamma
  • Dual Shock Absorber: staffa ammortizzante con doppio bullone brevettato per proteggere tendalino e veicolo in caso di maltempo
  • Extra Strong Arms: braccia rinforzate e snodate a doppio cavo d'acciaio che permette di mantenere una tensione del telo ottimale
  • Secure Lock: le paline possono essere fissate al suolo o a parete e permettono di regolare l'altezza del frontale con un sistema telescopico sicuro e pratico

GUIDA ALLA SCELTA

  • Veicolo: perfetto per ogni veicolo, dai grandi camper ai minivan
  • Apertura: azionamento ad arganello. Apertura e chiusura con manovella. Motore elettrico disponibile come optional
  • Posizione: installazione a parete. Kit staffe di installazione incluse, staffe particolari disponibili come optional
  • Veranda: disponibili come optional le chiusure Privacy Ultra-Light, Privacy Room, Privacy Room Light, Blocker e Side
  • Colori & materiali: cassonetto Polar White, Titanium o Deep Black. Telo multistrato in vinile, impermeabile e resistente ai raggi UV, imputrescibile e lavabile, disponibile nelle fantasie R=Royal Grey e Q=Royal Blue con colori brillanti su entrambi i lati.

GUARDA IL VIDEO DI PRESENTAZIONE

MODELLI DISPONIBILI FIAMMA F45S

CASSONETTO POLAR WHITE

Recentemente disponibile presso

Acconsenti ai cookie per visualizzare la mappa.
Clicca qui.
  • ACCESSORI CAMPER SHOP
    VIA MONTECATINI, 294/1
    41126 MODENA (MO) - ITALIA
    +39 059 468765
  • G SERVICE DI GRIOLI PAOLO
    STRADA STATALE 114KM 7 SNC
    98100 FRA. MILI MARINA (ME) - ITALIA
  • CAMPING SPORT MAGENTA S.R.L.
    CORSO MAGENTA, 56
    20123 MILANO (MI) - ITALIA
    +393703189656
  • GARAGE ROMA
    VIA NAZARIO SAURO 60
    20025 LEGNANO (MI) - ITALIA
    +39 0331 540313
  • GIRA GIRA
    VIA SAN PIETRO 8
    21040 ORIGGIO (VA) - ITALIA
    +39 02 9609356
  • 3 C
    VIA GIAMBATTISTA VICO 9
    42124 VILLA CELLA (RE) - ITALIA
    +39 0522 941983

Spesso acquistato insieme

Bike Block Pro 1 Black Fiamma - 04133-01a

709300
Caricamento prezzo in corso...